Apple luôn tính toán cẩn thận việc phát hành sản phẩm của mình. Nhà Táo thường chỉ giới thiệu các tính năng mới sau khi dành nhiều thời gian nghiên cứu và tối ưu hóa chúng. Thời gian đó thường rất lâu sau khi các tính năng đó được những hãng công nghệ khác áp dụng. Cách tiếp cận thận trọng này có thể khiến một số khách hàng thất vọng, thậm chí còn khiến nhiều người tuyên bố Apple phát hành cùng một thiết bị từ năm này qua năm khác.
Dẫu thế, sự chờ đợi lâu dài và đầu tư như vậy thường khiến những tính năng đó hoạt động tốt hơn trên các thiết bị Apple so với các thiết bị cạnh tranh khác, chẳng hạn như Face ID. Nhưng không phải lúc nào chúng cũng hoạt động hiệu quả, có thể kể đến bàn phím cánh bướm.
Nhưng việc không phải lúc nào cũng nhanh chóng áp dụng công nghệ mới không có nghĩa là những người làm việc tại Apple không chịu vắt óc suy nghĩ để đưa ra các ý tưởng mới đầy tính sáng tạo. Như đã thấy từ vô số bằng sáng chế được nộp trong thập kỉ qua, Apple không ngừng thử nghiệm những ý tưởng kỳ quặc, thậm chí là ngớ ngẩn, "giời ơi đất hỡi". Và dưới đây là danh sách các bằng sáng chế kỳ lạ nhất mà Apple từng nộp.
Apple có một hệ sinh thái kín với khả năng tích hợp phần mềm tuyệt vời. Đó là một lợi ích cụ thể khi sở hữu các san phẩm của Apple: iPhone, iPad, Mac,… Tuy nhiên, khi nói đên sphần cứng, Apple vạch ra một ranh giới rõ ràng, ít sẵn sàng hơn trong việc làm mờ ranh giới giữa các loại sản phẩm so với những đối thủ cạnh tranh.
Chẳng hạn, Apple khẳng định iPad sẽ vẫn là 1 chiếc tablet, dù nó chứa các thành phần cần thiết để hoạt động như 1 chiếc laptop. Ngược lại, một cỗ máy Mac có khả năng tháo rời hoặc chuyển đổi có thể sẽ không bao giờ tồn tại.
Nhờ một bằng sáng chế được nộp vào năm 2017, chúng ta biết rằng, ít nhất, Apple cũng đã nghĩ đến ý tưởng cơ bản tạo ra một thiết bị lai kỳ lạ về cách biến một chiếc iPhone thành một chiếc laptop. Về cơ bản, thiết bị ý tưởng này là một màn hình hiển thị có pin, và khi lắp iPhone của mình vào một khe đặt dưới bàn di chuột, nó sẽ biến thành một chiếc laptop. Điện thoại cung cấp toàn bộ trải nghiệm, mang đến khả năng xử lý, đồ họa, bộ nhớ và lưu trữ.
Trong một lần “nâng cấp” khác, iPad lại được cắm vào một khoảng trống vốn được sử dụng để đặt màn hình laptop, cung cấp hình ảnh và sức mạnh, trong khi phần khung sẽ chứa bàn phím, bàn di chuột.
Nike đã từng áp dụng ý tưởng dây tự buộc trong các đôi giày Back to the Future của mình, và Apple cũng đã nghĩ về điều đó cho đồng hồ.
Hồi năm 2017, Apple đã nộp bằng sáng chế cho một dây đeo đồng hồ tự điều chỉnh, có thể tự động thắt chặt hoặc nới lỏng dựa trên dữ liệu sinh trắc học mà đồng hồ thu thập. Nó có thể được làm được Nitinol – một hợp kim kim loại đàn hồi có thể điều chỉnh và duy trì hình dạng cảu mình. Các ý tưởng khác bao gồm một hệ thống truyền động bằng cơ cấu bánh cóc hoặc các túi khí/chất lỏng.
Đây không phải là bằng sáng chế Apple Watch kỳ lạ duy nhất. Công ty cũng xem xét các cách để đưa camera vào thiết bị đeo của mình.
Hãy tượng tưởng, bạn đang tham dự một buổi họa nhạc và tầm nhìn của bạn hầu như sẽ bị che khuất bởi một vài người đưa smartphone lên để quay video hoặc chụp ảnh, trong khi phớt lờ những gì đang diễn ra trước mặt họ. Hóa ra, Apple đã nghĩ ra một ý tưởng để loại bỏ hành vi đáng ghét đó.
Hồi năm 2016, Apple đã được trao bằng sáng chế cho một hệ thống ngăn người dùng iPhone quay video tại các buổi hòa nhạc. Nó sẽ sử dụng tín hiệu hồng ngoại để gửi tin nhắn đến điện thoại của bạn và yêu cầu vô hiệu hóa khả năng quay. Nó cũng khiến nhiều người bực mình, nhưng đây là một cách để loại bỏ sự cám dỗ trong việc ghi lại kỷ niệm trên chiếc smartphone của bạn.
Có thể bạn sẽ nghĩ là một trò đùa ngớ ngẩn, nhưng Apple thực sự đã nộp bằng sáng chế mô tả một chiếc ô tô tự lái không có cửa số, thay thế kính bằng camera.
Công ty lưu ý trong bằng sáng chế của mình rằng “các phương tiện tự hành có thể có cửa sổ hạn chế hoặc thậm chí không có cửa sổ, và do đó, những chuyển động mà hành khách trải qua trên các phương tiện đó có thể không khớp với những gì họ nhìn thấy bằng mắt thường, có khả năng gây say xe.”
Để giải quyết vấn đề này, Apple sẽ sử dụng một hệ thống VR có thể “mang đến các chế độ ảo trùng khớp những tín hiệu thị giác với các chuyển động vật lý mà hành khách trải nghiệm.” Táo khuyết tuyên bố, các cửa sổ vốn dĩ không an toàn và tin rằng một hệ thống VR sẽ không chỉ an toàn hơn mà còn mang đến cảm giác lớn hơn ở bên trong cho những chiếc xe nhỏ, rẻ hơn.
Trong một bằng sáng chế gần đây, Apple mô tả một phụ kiện tablet có phần đế và "cơ chế khớp nối", vốn được kết hợp với một chiếc bàn phím sử dụng các phím cơ điẹn. Apple cũng đã mô tả một số phiên bản cập nhật cho ý tưởng tháo rời này, và mỗi lần đều mang lại cho người dùng sự linh hoạt khi đặt iPad theo nhiều hướng khác nhau.
Một trong số đó, Apple mô tả “cơ chế khớp nối” hoặc bản lề, chồng lên mặt sau của tablet và có màn hình phụ hiển thị thông báo tùy chỉnh, mức pin, ngày giờ… Nó gần giống với một phiên bản Touch Bar nằm ở mặt sau. Trong một phiên bản rắc rối hơn, màn hình phụ đó lại nằm chồng lên màn hình chính.
Bên cạnh đó, Apple còn có một ý tưởng về một phụ kiện bàn phím có bản lề truyền thống hơn, tương tự như Surface Pro: đặt tablet gắn vào phần đính kèm bàn phím ở cạnh dưới và đóng lại như một cuốn sách. Trong một ý tưởng khác, bản lề hỗ trợ cho các phụ kiện bổ sung, như camera, máy chiếu hoặc micrô.
Apple đã từng cân nhắc đến việc nhét máy tính vào một chiếc bàn phím, tương tự như Commodore 64. Được nộp vào năm 2020, bằng sáng chế mô tả một chiếc máy tính desktop được ngụy trang thành bàn phím. Trong bằng sáng chế, Apple lưu ý rằng việc mang theo một chiếc desktop “có thể bất tiện, kỳ quặc và khó khăn, đặc biệt là khi thường xuyên lặp lại.” Và giải pháp của Apple là biến bàn phím của bạn thành một chiếc máy tính bằng cách nhồi nhét nguồn điện, cổng USB-C và mọi con chip cùng những thứ cần thiết vào bên trong để có thể hoạt động. Thực tế, Raspberry Pi đã làm được điều đó.
Điều này không quá xa vời, dù chúng ta đều kỳ vọng rằng Apple có thể đã rút ra bài học sau sự thất bài của bàn phím cánh bướm (Butterfly). Mọi người đều muốn phím nhấn của mình lên và xuống. Dù sao đi chăng nữa, Apple đã được cấp một bằng sáng chế vào hồi năm ngoái cho một bàn phím MacBook ảo có thể tùy chỉnh hoàn toàn. Hình ảnh trong bằng sáng chế cho thấy một bàn phím ảo có bố cục QWERTY thông thường, một bàn phím khác có bố cục chia nhỏ và bàn phím thứ ba thay thế các phím bằng các nút.
Về cơ bản, nó sẽ biến phần mặt dưới của MacBook thành một tấm vải trống. Nó có thể có các khu vực để bạn sạc điện thoại không dây, vị trí cho cảm biến vân tay và bất kỳ nút nào, như bàn di chuột, có thể bao gồm các điều khiển điện dụng hoặc cử chỉ thay vì thao tác bật/tắt đơn giản. Đây không phải là một ý tưởng hoàn toàn mới khi Lenovo đã từng phát hành một chiếc laptop có ý tưởng tương tự, dù rằng họ sử dụng màn hình E-Ink cho những phím bấm.
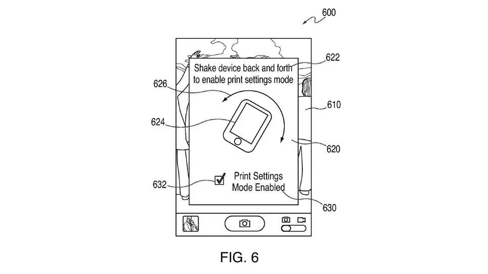
Có lẽ, ý tưởng này được xây dựng dựa trên tính năng “lắc để trộn bài hát” của Apple vốn có khả năng phát ngẫu nhiên nhạc của bạn khi lắc iPhone hoặc iPod. Với thao tác lắc để in, bạn sẽ lật hoặc lắc thiết bị của mình về mặt vật lý để bật hoặc tắt một số tính năng in nhất đinh.
Đây thực sự là một ý tưởng khá ngớ ngẩn và ngu ngốc. Apple cũng ngầm đống ý với điều đó bởi tính năng này chưa bao giờ được chuyển từ giấy sang sản phẩm.
Mặc dù vẻ ngoài giống máy bào phô mai trông khá thú vị trên cỗ máy Mac Pro của Apple, thế nhưng, thực sự nó lại không phù hợp cho iPhone.
Trong một bằng sáng chế được phát hiện vào năm ngoái, Apple đã thảo luận về một chiếc iPhone có “cấu trúc ba chiều”, “có thể bao gồm phần thân xác định mẫu lỗ hổng đầu tiên mở rộng vào thân máy từ bề mặt đầu tiên, và phần thân xác định mẫu thứ hai của lỗ trống thứ hai mở rộng vào thân máy từ bề mặt thứ hai. Một hoặc nhiều lỗ đầu tiên có thể giao nhau lệch tâm với một hoặc nhiều hốc thứ hai để xác định một kiểu khẩu độ trong thân máy.”
Nghe có vẻ thực sự khó hiểu, nhưng hình ảnh Apple cung cấp có vẻ hữu ích hơn mớ ngôn từ mô tả một chiếc iPhone trông giống như một máy bào phô mai. Apple cho biết, thiết kế này có thể mang lại lợi ích về mặt chức năng, nhưng lợi ích như thế nào chúng ta vẫn chưa rõ, chỉ biết là nó thực sự rất tệ hại khi áp dụng với iPhone.
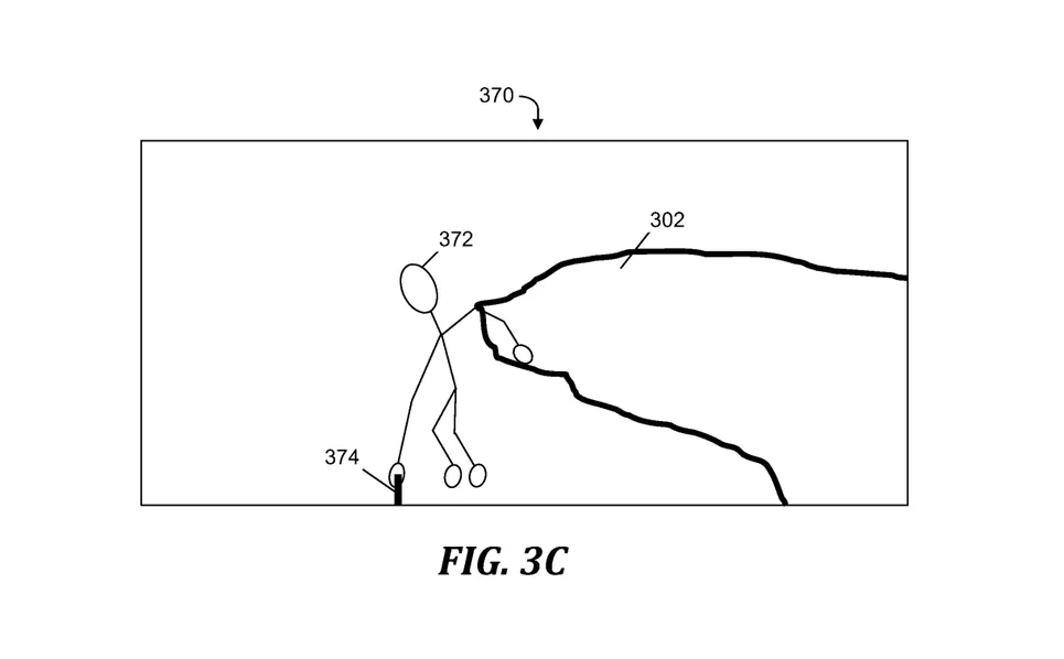
Trừ khi những tin đồn từ nhiều nguồn đáng tin cậy là sai, Apple đang thực sự phát triển một headset AR/VR của riêng mình. Công ty dường như cũng đang thử nghiệm với ý tưởng về một thiết bị cho phía đầu kia của cơ thể chúng ta. Như một bằng sáng chế trong năm 2021 tiết lộ, Apple đang xem xét “thiết bị đầu ra xúc giác” cho đôi chân của bạn. Về mặt kỹ thuật, chúng không nhất thiết phải là tất hay giày, nó có thể có hình dạng như một thứ gì đó dính vào gia.
Trong mọi trường hợp, mục tiêu của nó là mang đến cho người dùng VR cảm giác như đang đi trên các bề mặt khác nhau hoặc di chuyển theo những hướng khác nhau mà thực sự giữ nguyên vị trí. Công ty cho biết, tất cả những cảm biến và đầu vào mà họ có thể đưa vào có thể bổ sung thêm một lớp đắm chìm khác cho trải nghiệm VR sắp tới của mình.
Nguồn: Gizmodo
Nhưng việc không phải lúc nào cũng nhanh chóng áp dụng công nghệ mới không có nghĩa là những người làm việc tại Apple không chịu vắt óc suy nghĩ để đưa ra các ý tưởng mới đầy tính sáng tạo. Như đã thấy từ vô số bằng sáng chế được nộp trong thập kỉ qua, Apple không ngừng thử nghiệm những ý tưởng kỳ quặc, thậm chí là ngớ ngẩn, "giời ơi đất hỡi". Và dưới đây là danh sách các bằng sáng chế kỳ lạ nhất mà Apple từng nộp.
1. Biến iPhone thành Mac
Chẳng hạn, Apple khẳng định iPad sẽ vẫn là 1 chiếc tablet, dù nó chứa các thành phần cần thiết để hoạt động như 1 chiếc laptop. Ngược lại, một cỗ máy Mac có khả năng tháo rời hoặc chuyển đổi có thể sẽ không bao giờ tồn tại.
Nhờ một bằng sáng chế được nộp vào năm 2017, chúng ta biết rằng, ít nhất, Apple cũng đã nghĩ đến ý tưởng cơ bản tạo ra một thiết bị lai kỳ lạ về cách biến một chiếc iPhone thành một chiếc laptop. Về cơ bản, thiết bị ý tưởng này là một màn hình hiển thị có pin, và khi lắp iPhone của mình vào một khe đặt dưới bàn di chuột, nó sẽ biến thành một chiếc laptop. Điện thoại cung cấp toàn bộ trải nghiệm, mang đến khả năng xử lý, đồ họa, bộ nhớ và lưu trữ.
Trong một lần “nâng cấp” khác, iPad lại được cắm vào một khoảng trống vốn được sử dụng để đặt màn hình laptop, cung cấp hình ảnh và sức mạnh, trong khi phần khung sẽ chứa bàn phím, bàn di chuột.
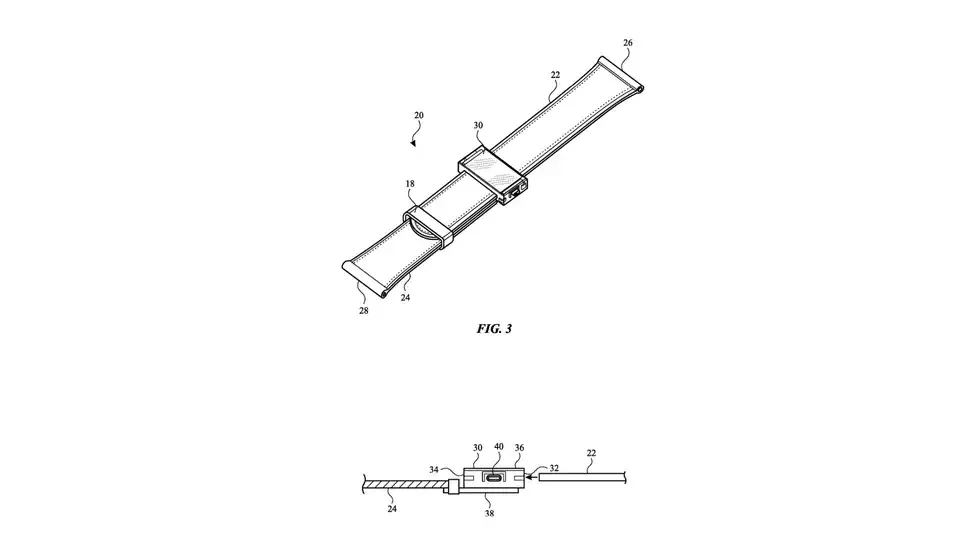
2. Dây đeo Apple Watch tự điều chỉnh
Hồi năm 2017, Apple đã nộp bằng sáng chế cho một dây đeo đồng hồ tự điều chỉnh, có thể tự động thắt chặt hoặc nới lỏng dựa trên dữ liệu sinh trắc học mà đồng hồ thu thập. Nó có thể được làm được Nitinol – một hợp kim kim loại đàn hồi có thể điều chỉnh và duy trì hình dạng cảu mình. Các ý tưởng khác bao gồm một hệ thống truyền động bằng cơ cấu bánh cóc hoặc các túi khí/chất lỏng.
Đây không phải là bằng sáng chế Apple Watch kỳ lạ duy nhất. Công ty cũng xem xét các cách để đưa camera vào thiết bị đeo của mình.
3. Cảnh báo không nên quay phim trong buổi hòa nhạc
Hồi năm 2016, Apple đã được trao bằng sáng chế cho một hệ thống ngăn người dùng iPhone quay video tại các buổi hòa nhạc. Nó sẽ sử dụng tín hiệu hồng ngoại để gửi tin nhắn đến điện thoại của bạn và yêu cầu vô hiệu hóa khả năng quay. Nó cũng khiến nhiều người bực mình, nhưng đây là một cách để loại bỏ sự cám dỗ trong việc ghi lại kỷ niệm trên chiếc smartphone của bạn.
4. Xe ô tô không có cửa sổ
Công ty lưu ý trong bằng sáng chế của mình rằng “các phương tiện tự hành có thể có cửa sổ hạn chế hoặc thậm chí không có cửa sổ, và do đó, những chuyển động mà hành khách trải qua trên các phương tiện đó có thể không khớp với những gì họ nhìn thấy bằng mắt thường, có khả năng gây say xe.”
Để giải quyết vấn đề này, Apple sẽ sử dụng một hệ thống VR có thể “mang đến các chế độ ảo trùng khớp những tín hiệu thị giác với các chuyển động vật lý mà hành khách trải nghiệm.” Táo khuyết tuyên bố, các cửa sổ vốn dĩ không an toàn và tin rằng một hệ thống VR sẽ không chỉ an toàn hơn mà còn mang đến cảm giác lớn hơn ở bên trong cho những chiếc xe nhỏ, rẻ hơn.
5. Bàn phím iPad có Touch Bar
Một trong số đó, Apple mô tả “cơ chế khớp nối” hoặc bản lề, chồng lên mặt sau của tablet và có màn hình phụ hiển thị thông báo tùy chỉnh, mức pin, ngày giờ… Nó gần giống với một phiên bản Touch Bar nằm ở mặt sau. Trong một phiên bản rắc rối hơn, màn hình phụ đó lại nằm chồng lên màn hình chính.
Bên cạnh đó, Apple còn có một ý tưởng về một phụ kiện bàn phím có bản lề truyền thống hơn, tương tự như Surface Pro: đặt tablet gắn vào phần đính kèm bàn phím ở cạnh dưới và đóng lại như một cuốn sách. Trong một ý tưởng khác, bản lề hỗ trợ cho các phụ kiện bổ sung, như camera, máy chiếu hoặc micrô.
6. Mac Commadore 64
7. Bàn phím ảo, có khả năng thích nghi
Về cơ bản, nó sẽ biến phần mặt dưới của MacBook thành một tấm vải trống. Nó có thể có các khu vực để bạn sạc điện thoại không dây, vị trí cho cảm biến vân tay và bất kỳ nút nào, như bàn di chuột, có thể bao gồm các điều khiển điện dụng hoặc cử chỉ thay vì thao tác bật/tắt đơn giản. Đây không phải là một ý tưởng hoàn toàn mới khi Lenovo đã từng phát hành một chiếc laptop có ý tưởng tương tự, dù rằng họ sử dụng màn hình E-Ink cho những phím bấm.
8. Lắc để in
Đây thực sự là một ý tưởng khá ngớ ngẩn và ngu ngốc. Apple cũng ngầm đống ý với điều đó bởi tính năng này chưa bao giờ được chuyển từ giấy sang sản phẩm.
9. Chiếc iPhone bào phô mai
Trong một bằng sáng chế được phát hiện vào năm ngoái, Apple đã thảo luận về một chiếc iPhone có “cấu trúc ba chiều”, “có thể bao gồm phần thân xác định mẫu lỗ hổng đầu tiên mở rộng vào thân máy từ bề mặt đầu tiên, và phần thân xác định mẫu thứ hai của lỗ trống thứ hai mở rộng vào thân máy từ bề mặt thứ hai. Một hoặc nhiều lỗ đầu tiên có thể giao nhau lệch tâm với một hoặc nhiều hốc thứ hai để xác định một kiểu khẩu độ trong thân máy.”
Nghe có vẻ thực sự khó hiểu, nhưng hình ảnh Apple cung cấp có vẻ hữu ích hơn mớ ngôn từ mô tả một chiếc iPhone trông giống như một máy bào phô mai. Apple cho biết, thiết kế này có thể mang lại lợi ích về mặt chức năng, nhưng lợi ích như thế nào chúng ta vẫn chưa rõ, chỉ biết là nó thực sự rất tệ hại khi áp dụng với iPhone.
10. Vớ VR rung
Trong mọi trường hợp, mục tiêu của nó là mang đến cho người dùng VR cảm giác như đang đi trên các bề mặt khác nhau hoặc di chuyển theo những hướng khác nhau mà thực sự giữ nguyên vị trí. Công ty cho biết, tất cả những cảm biến và đầu vào mà họ có thể đưa vào có thể bổ sung thêm một lớp đắm chìm khác cho trải nghiệm VR sắp tới của mình.
Nguồn: Gizmodo