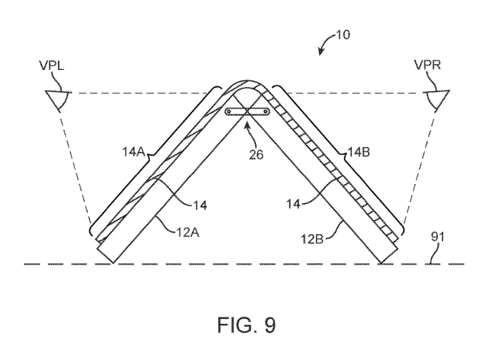
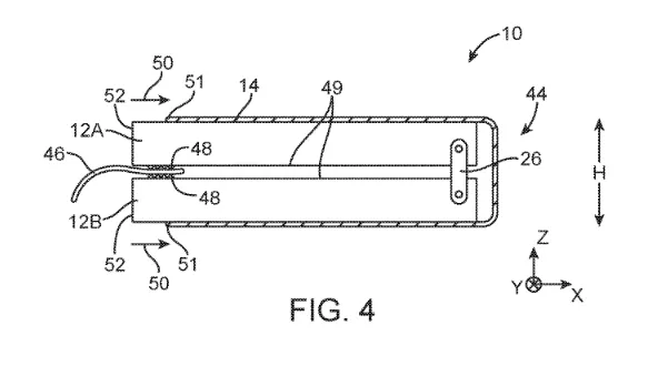
Theo nguồn tin từ The Elec (Hàn Quốc), Apple đang phát triển một màn hình OLED gập mới và sẽ có mặt trên iPhone hoặc iPad gập. Bước đột phá lớn nhất chính là không có lớp phân cực trên tấm nền, vốn đang được sử dụng trong một số màn hình gập thông thường. 
		
		
	
	
		 Công nghệ hiển thị không có phân cực tương tự được Samsung sử dụng trong Galaxy Z Fold3 và màn hình Eco²OLED. Apple đang cân nhắc một cách tiếp cận tương tự cho thiết bị gập của riêng mình.
	Công nghệ hiển thị không có phân cực tương tự được Samsung sử dụng trong Galaxy Z Fold3 và màn hình Eco²OLED. Apple đang cân nhắc một cách tiếp cận tương tự cho thiết bị gập của riêng mình.
Việc loại bỏ lớp phân cực cho phép màn hình gập mỏng hơn dù phải trả giá bằng khả năng hiển thị cũng như độ sáng cao nhất. Các nhà sản xuất buộc phải tăng mức tiêu thụ điện năng của màn hình nhằm tăng độ sáng, do đó, điều này tác động tiêu cực đến tuổi thị của các tấm nền màn hình gập. Sẽ rất thú vị khi xem cách Apple giải quyết những vấn đề này.
Vẫn còn nhiều năm nữa điện thoại gập của Apple mới cập bến và theo nhà phân tích nổi tiếng về Apple, Ming-Chi Kuo, ít nhất đến năm 2025, thiết bị gập từ nhà Táo mới có thể xuất hiện.
		 
	
		 
	
		 
	
>>> Liên minh Châu Âu lại tấn công Apple.
Nguồn: GSM Arena
								Việc loại bỏ lớp phân cực cho phép màn hình gập mỏng hơn dù phải trả giá bằng khả năng hiển thị cũng như độ sáng cao nhất. Các nhà sản xuất buộc phải tăng mức tiêu thụ điện năng của màn hình nhằm tăng độ sáng, do đó, điều này tác động tiêu cực đến tuổi thị của các tấm nền màn hình gập. Sẽ rất thú vị khi xem cách Apple giải quyết những vấn đề này.
Vẫn còn nhiều năm nữa điện thoại gập của Apple mới cập bến và theo nhà phân tích nổi tiếng về Apple, Ming-Chi Kuo, ít nhất đến năm 2025, thiết bị gập từ nhà Táo mới có thể xuất hiện.
>>> Liên minh Châu Âu lại tấn công Apple.
Nguồn: GSM Arena
 
 
		 
 
		 
 
		 
 
		 
 
		 
 
		 
 
		