thuha19051234
Pearl
Cuộc tranh cãi nổ ra khi hình ảnh về CAMM mới của Dell, hay còn gọi là Mô-đun bộ nhớ nén kèm theo, bị rò rỉ. Điều này ngay lập tức khiến các trang web công nghệ tuyên bố rằng Dell đang "khóa các bản nâng cấp của người dùng".
Tuy nhiên, trong một cuộc phỏng vấn mới đây trên PCWorld, cả người thiết kế và cấp bằng sáng chế cho tiêu chuẩn CAMM, và cả người quản lý sản phẩm của chiếc máy tính xách tay Dell Precision đầu tiên có tính năng này, đều đảm bảo rằng mục đích của tiêu chuẩn mô-đun bộ nhớ mới là vượt qua mức trần băng thông thấp trong các thiết kế SO-DIMM hiện tại. Họ cũng cho biết CAMM của Dell có thể tăng hiệu suất, cải thiện độ tin cậy, hỗ trợ người dùng nâng cấp và cuối cùng là hạ giá thành.
Tom Schnell, Kỹ sư cấp cao, cho biết: “...Chúng tôi không giữ nó cho riêng mình, mà hy vọng nó sẽ trở thành tiêu chuẩn ngành tiếp theo. ”
Đây là bộ xen kẽ SO-DIMM của Dell sẽ được sử dụng trong các máy trạm Precision
Schnell cũng nói rằng, Dell không sản xuất mô-đun và làm việc với Intel cùng nhiều công ty sản xuất bộ nhớ về vấn đề này. Trong tương lai, một người có laptop được trang bị CAMM của Dell vẫn có thể mua RAM từ bất kỳ bên thứ ba nào, cài đặt vào máy tính của mình. Ban đầu, Dell có thể sẽ là nơi duy nhất nhận được các bản nâng cấp CAMM, nhưng điều đó sẽ thay đổi khi tiêu chuẩn mở rộng và được các nhà sản xuất PC khác áp dụng. Các mô-đun bộ nhớ mới cũng được chế tạo bằng cách sử dụng DRAM hàng hóa giống như SO-DIMM thông thường.
Trên thực tế, Dell cũng chỉ ra nó còn không phải "độc quyền" trên laptop hãng. Các máy trạm Precision đầu tiên đi kèm CAMM sẽ được cung cấp với SO-DIMM thông thường sử dụng interposer. Mano Gialusis, giám đốc sản phẩm của máy trạm Precision, cho biết tùy chọn interposer sẽ có sự gắn kết giống như CAMM.
Thiết kế CAMM giờ đây đã trở thành hiện thực, bước tiếp theo của Dell là đưa nó ra trước JEDEC - tổ chức tiêu chuẩn bộ nhớ - để cung cấp cho nhiều người dùng hơn. Khi được hỏi tại sao không tạo ra một tiêu chuẩn ngay từ đầu, Schnell cho biết việc đúc một mẫu tiêu chuẩn dễ hơn rất nhiều khi đã được chứng minh là hoạt động tốt hơn, thay vì cố tạo ra một thứ gì đó mới mỗi lần thay đổi.
Đây là mặt sau của mô-đun CAMM 32GB. Phần vàng là nơi mô-đun được nén vào một đầu nối
Dell thực sự có bằng sáng chế về thiết kế CAMM và sẽ có tiền bản quyền, nhưng công ty cho biết thời điểm này còn quá sớm để thảo luận về tiền bản quyền. Nó cũng chỉ ra rằng khi xây dựng một máy tính xách tay tiêu chuẩn, rất nhiều công ty PC khác nhau cũng có bằng sáng chế nên cuối cùng hầu hết chúng chỉ đơn giản là được cấp phép chéo. Điểm cuối cùng mà Dell đưa ra để xoa dịu những lo ngại về bản quyền, đó là JEDEC yêu cầu bất kỳ tiêu chuẩn nào mà họ mong muốn tuân theo các điều khoản Reasonable and Non-Discretionar. Về cơ bản, điều này có nghĩa là không có tiêu chuẩn nào có thể được thông qua JEDEC trừ khi việc cấp phép không mang tính chất chống cạnh tranh, được định giá hợp lý và không thể phân biệt đối xử với một công ty bất kỳ.
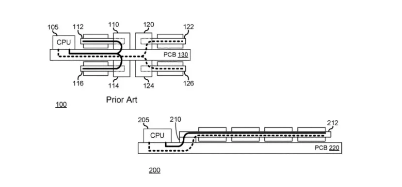
Hình minh họa từ Bằng sáng chế mà Dell đăng ký vào năm 2020 cho thấy đường dẫn phức tạp mà dấu vết bộ nhớ sử dụng để lấy từ CPU trong SO-DIMM (phía trên bên trái) so với CAMM mới của công ty (phía dưới bên phải.)
Bộ nhớ RAM được xây dựng bằng cách sử dụng các giao diện song song, có nghĩa là sẽ có nhiều dây rời CPU đi đến bộ nhớ. Do yêu cầu về thời gian cũng như tính toàn vẹn cao của tín hiệu, bắt buộc mọi dây phải có cùng độ dài chính xác và cũng có đủ khoảng cách để giảm nhiễu. Trong khi đó, đối với hầu hết các ứng dụng, SO-DIMM vẫn chưa đạt đến giới hạn của nó, nhưng vào thời điểm DDR6 xuất hiện, thiết kế của SO-DIMM sẽ vượt qua cả thời kỳ đỉnh cao. Chẳng hạn như trong laptop xách tay Intel thế hệ thứ 12 sử dụng hai SO-DIMM, bạn có thể đạt đến tốc độ truyền DDR5/4800. Nhưng hãy đẩy nó lên thiết kế bốn DIMM, chẳng hạn như trong máy tính xách tay có RAM 128GB và bạn phải chuyển nó về tốc độ truyền DDR5/4000.
Còn với CAMM, chúng ta đã thấy một ứng dụng thực tế hiện nay. CAMM cho phép đạt mật độ 128GB và đạt tốc độ truyền DDR5 / 4800. Schnell không đi sâu vào chi tiết hiệu suất thực tế về việc CAMM tốt hơn bao nhiêu so với SO-DIMM nhưng có nói rằng một đầu nối nén, chẳng hạn như đầu nối Dell sử dụng trong card đồ họa của mình, được gọi là DGFF, có thể đạt được 20GHz, cao hơn bốn lần so với xung nhịp thô của tốc độ megatransfer của mô-đun DDR5 / 4800.
Thiết kế CAMM mới của Dell có thể tăng hiệu suất và độ tin cậy, có thể nâng cấp
Thao tác này vẫn có thể thực hiện được, nhưng việc tháo bo mạch chủ ra khỏi máy tính có nghĩa là bạn phải loại bỏ các dây cáp ruy băng phức tạp và tinh vi cho track pad, bàn phím, màn hình và các thành phần khác. Mà khi càng làm rối tung nhiều bộ phận của máy lên thì khả năng bạn làm hỏng một thứ gì đó trong số chúng càng cao. Ngoài ra, khi bạn có đến bốn DIMM vật lý, bạn cũng tăng tỷ lệ cược một mô-đun bị lỏng lẻo theo cấp số nhân.
Các mô-đun CAMM mới của Dell từ 16GB (phía trên bên trái) đến 32GB (phía dưới bên trái) và 128GB (phía trên bên phải) và 32GB (phía dưới bên phải).
Còn CAMM có thiết kế nén kẹp vào đầu nối, giúp bảo vệ nó nhiều hơn so với các điểm tiếp xúc của SO-DIMM, nơi tiếp xúc nhiều hơn với không khí. Điều này sẽ cải thiện độ tin cậy và hiệu suất. Thiết kế của CAMM cũng thực sự có thể giúp tản nhiệt nhiều hơn vì đầu nối có thể hoạt động như một bộ tản nhiệt. Với SO-DIMM, nhiệt có thể bị giữ lại trong các lớp phức tạp.
Dell cho biết rằng CAMM chỉ là một thiết kế bộ nhớ tốt hơn cho máy tính. Để chứng minh, họ đã thử nghiệm nó máy trạm di động Precision 7770 mới của mình. Gialusis của Dell cho biết khách hàng công nghiệp của Precision 7770 yêu cầu hiệu suất và độ tin cậy, cho nên việc đưa CAMM vào dòng sản phẩm này cũng cho thấy niềm tin của Dell vào tiêu chuẩn này.
>>> Hóa ra màn hình Studio Display có webcam dở tệ không phải vì phần mềm?
Nguồn pcworld
Tuy nhiên, trong một cuộc phỏng vấn mới đây trên PCWorld, cả người thiết kế và cấp bằng sáng chế cho tiêu chuẩn CAMM, và cả người quản lý sản phẩm của chiếc máy tính xách tay Dell Precision đầu tiên có tính năng này, đều đảm bảo rằng mục đích của tiêu chuẩn mô-đun bộ nhớ mới là vượt qua mức trần băng thông thấp trong các thiết kế SO-DIMM hiện tại. Họ cũng cho biết CAMM của Dell có thể tăng hiệu suất, cải thiện độ tin cậy, hỗ trợ người dùng nâng cấp và cuối cùng là hạ giá thành.
Dell không độc quyền
Internet sôi sục phản ứng với việc CAMM trở thành độc quyền. Nó vốn được coi như một phương pháp để khóa người dùng chỉ có thể mua các bản nâng cấp từ một công ty duy nhất. Tuy vậy, những người làm việc ở Dell khẳng định hoàn toàn không phải như cộng đồng lan truyền.Tom Schnell, Kỹ sư cấp cao, cho biết: “...Chúng tôi không giữ nó cho riêng mình, mà hy vọng nó sẽ trở thành tiêu chuẩn ngành tiếp theo. ”
Schnell cũng nói rằng, Dell không sản xuất mô-đun và làm việc với Intel cùng nhiều công ty sản xuất bộ nhớ về vấn đề này. Trong tương lai, một người có laptop được trang bị CAMM của Dell vẫn có thể mua RAM từ bất kỳ bên thứ ba nào, cài đặt vào máy tính của mình. Ban đầu, Dell có thể sẽ là nơi duy nhất nhận được các bản nâng cấp CAMM, nhưng điều đó sẽ thay đổi khi tiêu chuẩn mở rộng và được các nhà sản xuất PC khác áp dụng. Các mô-đun bộ nhớ mới cũng được chế tạo bằng cách sử dụng DRAM hàng hóa giống như SO-DIMM thông thường.
Trên thực tế, Dell cũng chỉ ra nó còn không phải "độc quyền" trên laptop hãng. Các máy trạm Precision đầu tiên đi kèm CAMM sẽ được cung cấp với SO-DIMM thông thường sử dụng interposer. Mano Gialusis, giám đốc sản phẩm của máy trạm Precision, cho biết tùy chọn interposer sẽ có sự gắn kết giống như CAMM.
Thiết kế CAMM giờ đây đã trở thành hiện thực, bước tiếp theo của Dell là đưa nó ra trước JEDEC - tổ chức tiêu chuẩn bộ nhớ - để cung cấp cho nhiều người dùng hơn. Khi được hỏi tại sao không tạo ra một tiêu chuẩn ngay từ đầu, Schnell cho biết việc đúc một mẫu tiêu chuẩn dễ hơn rất nhiều khi đã được chứng minh là hoạt động tốt hơn, thay vì cố tạo ra một thứ gì đó mới mỗi lần thay đổi.
Bằng sáng chế của Dell cho CAMM thực chất là gì?
Dell thực sự có bằng sáng chế về thiết kế CAMM và sẽ có tiền bản quyền, nhưng công ty cho biết thời điểm này còn quá sớm để thảo luận về tiền bản quyền. Nó cũng chỉ ra rằng khi xây dựng một máy tính xách tay tiêu chuẩn, rất nhiều công ty PC khác nhau cũng có bằng sáng chế nên cuối cùng hầu hết chúng chỉ đơn giản là được cấp phép chéo. Điểm cuối cùng mà Dell đưa ra để xoa dịu những lo ngại về bản quyền, đó là JEDEC yêu cầu bất kỳ tiêu chuẩn nào mà họ mong muốn tuân theo các điều khoản Reasonable and Non-Discretionar. Về cơ bản, điều này có nghĩa là không có tiêu chuẩn nào có thể được thông qua JEDEC trừ khi việc cấp phép không mang tính chất chống cạnh tranh, được định giá hợp lý và không thể phân biệt đối xử với một công ty bất kỳ.
CAMM đánh dấu cho sự thay đổi cần thiết trong thiết kế bộ nhớ
Schnell của Dell cho biết SO-DIMM, hoặc Mô-đun bộ nhớ nội tuyến kép Small Outline, hướng tới một trần kính trong một thế hệ thiết kế. SO-DIMM, được giới thiệu lần đầu tiên cách đây gần 25 năm, đã không thay đổi nhiều trong khoảng thời gian đó ngoài việc chuyển sang các phương pháp DRAM mới hơn và nhanh hơn. Phần lớn các vấn đề của SO-DIMM đến từ thiết kế tương đối phức tạp của nó, làm kéo dài các dây dẫn hoặc "dấu vết" phải kết nối CPU với mô-đun RAM. Điều này được diễn tả như hình ảnh bên dưới, với lộ trình mà các dây dẫn đi từ CPU đến thiết kế bốn SO-DIMM (hình phía trên bên trái). Khoảng cách này sẽ được rút ngắn đáng kể trong thiết kế CAMM mới của Dell (hình dưới bên phải). Khoảng cách ngăn của một sợi dây dẫn đồng nghĩa rằng sẽ cần ít điện năng hơn nhưng lại có tốc độ tiềm năng cao hơn. Ở CAMM, khoảng cách tới CPU có thể là 1,5 inch, so với 3 inch trên thiết kế SO-DIMM.Bộ nhớ RAM được xây dựng bằng cách sử dụng các giao diện song song, có nghĩa là sẽ có nhiều dây rời CPU đi đến bộ nhớ. Do yêu cầu về thời gian cũng như tính toàn vẹn cao của tín hiệu, bắt buộc mọi dây phải có cùng độ dài chính xác và cũng có đủ khoảng cách để giảm nhiễu. Trong khi đó, đối với hầu hết các ứng dụng, SO-DIMM vẫn chưa đạt đến giới hạn của nó, nhưng vào thời điểm DDR6 xuất hiện, thiết kế của SO-DIMM sẽ vượt qua cả thời kỳ đỉnh cao. Chẳng hạn như trong laptop xách tay Intel thế hệ thứ 12 sử dụng hai SO-DIMM, bạn có thể đạt đến tốc độ truyền DDR5/4800. Nhưng hãy đẩy nó lên thiết kế bốn DIMM, chẳng hạn như trong máy tính xách tay có RAM 128GB và bạn phải chuyển nó về tốc độ truyền DDR5/4000.
Còn với CAMM, chúng ta đã thấy một ứng dụng thực tế hiện nay. CAMM cho phép đạt mật độ 128GB và đạt tốc độ truyền DDR5 / 4800. Schnell không đi sâu vào chi tiết hiệu suất thực tế về việc CAMM tốt hơn bao nhiêu so với SO-DIMM nhưng có nói rằng một đầu nối nén, chẳng hạn như đầu nối Dell sử dụng trong card đồ họa của mình, được gọi là DGFF, có thể đạt được 20GHz, cao hơn bốn lần so với xung nhịp thô của tốc độ megatransfer của mô-đun DDR5 / 4800.
CAMM sẽ đáng tin cậy hơn, nhỏ hơn và mát hơn
Ngoài lợi thế về hiệu suất, Schnell cho biết CAMM sẽ cải thiện độ tin cậy, cải thiện nhiệt và tiết kiệm không gian, từ đó có thể tạo ra một chiếc máy tính xách tay mỏng hơn. Để chứng minh cho sự vượt trội này, hãy nhìn hình ảnh phía trên để so sánh. Rõ ràng là thiết kế SO-DIMM quá dày, đặc biệt là khi sử dụng lên 4 mô-đun. Vì 4 mô-đun yêu cầu 4 sợi dẫn phải có cùng chiều dài, nhiều nhà sản xuất laptop đã gắn chúng trên cả hai mặt của bo mạch chủ. Tất cả đều không có vấn đề gì cho đến khi bạn muốn truy cập RAM ở phía bên kia của bo mạch chủ. Đối với người dùng không có kinh nghiệm, hạn chế này không chỉ bắt họ phải kéo phần đáy của máy tính ra mà còn phải tháo cả bo mạch chủ.Thao tác này vẫn có thể thực hiện được, nhưng việc tháo bo mạch chủ ra khỏi máy tính có nghĩa là bạn phải loại bỏ các dây cáp ruy băng phức tạp và tinh vi cho track pad, bàn phím, màn hình và các thành phần khác. Mà khi càng làm rối tung nhiều bộ phận của máy lên thì khả năng bạn làm hỏng một thứ gì đó trong số chúng càng cao. Ngoài ra, khi bạn có đến bốn DIMM vật lý, bạn cũng tăng tỷ lệ cược một mô-đun bị lỏng lẻo theo cấp số nhân.
Còn CAMM có thiết kế nén kẹp vào đầu nối, giúp bảo vệ nó nhiều hơn so với các điểm tiếp xúc của SO-DIMM, nơi tiếp xúc nhiều hơn với không khí. Điều này sẽ cải thiện độ tin cậy và hiệu suất. Thiết kế của CAMM cũng thực sự có thể giúp tản nhiệt nhiều hơn vì đầu nối có thể hoạt động như một bộ tản nhiệt. Với SO-DIMM, nhiệt có thể bị giữ lại trong các lớp phức tạp.
Dell cho biết rằng CAMM chỉ là một thiết kế bộ nhớ tốt hơn cho máy tính. Để chứng minh, họ đã thử nghiệm nó máy trạm di động Precision 7770 mới của mình. Gialusis của Dell cho biết khách hàng công nghiệp của Precision 7770 yêu cầu hiệu suất và độ tin cậy, cho nên việc đưa CAMM vào dòng sản phẩm này cũng cho thấy niềm tin của Dell vào tiêu chuẩn này.
>>> Hóa ra màn hình Studio Display có webcam dở tệ không phải vì phần mềm?
Nguồn pcworld