Mới đây, Huawei đã chính thức công bố bằng sáng chế mới tại Trung Quốc ra công chúng và đó không phải là bằng sáng chế thông thường cho smartphone, smartwatch, tai nghe hay thiết bị điện tử. Thay vào đó, bằng sáng chế mà Huawei Technologies đã xuất bản là một bằng sáng chế về điện toán lượng tử, đây được xem là cuộc cách mạng tiếp theo về cách thế giới công nghệ sẽ vận hành trong 10 năm tới.
Bằng sáng chế này được liệt kê với mã số CN114613758A, và từ phần mô tả bằng sáng chế, Huawei đã phát triển một loại “chipset lượng tử và thiết bị điện toán lượng tử.”
Loại thiết bị điện toán lượng tử mới của Huawei nhằm giải quyết các vấn đề hiện tại về sản xuất chipset lượng tử, bao gồm sự phức tạp của việc sản xuất chipset lượng tử và năng suất sản xuất chipset lượng tử thấp khi so sánh với các chipset điện toán chính thống hiện nay. Đổi lại, với loại chip lượng tử mới này, nó không chỉ sẽ dễ lắp ráp hơn trong tương lai mà còn có thể sản xuất nhiều đơn vị thành công hơn với năng suất cao hơn, đồng nghĩa với việc chiếm nhiều thị phần hơn trong ngành.
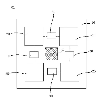
Bằng sáng chế nêu rõ các nguyên tắc cơ bản về kiến trúc bên trong chipset lượng tử mới vừa được Huawei phát triển:
- Một chất nền, những con chip phụ (sub-chip) M, cấu trúc khớp nối và cấu trúc triệt tiêu chế độ khoang.
- Mỗi chip phụ bao gồm các bit bit lượng tử N, và những con chip phụ M được xếp trên bề mặt của chế nền trong các khoảng không gian xen kẽ.
- Cấu trúc khớp nối được sử dụng để nhận diện sự kết nối giữa những chip phụ M.
- Cấu trúc triệt tiêu chế độ khoang được bố trí ở mỗi chip phụ và/hoặc trong khoảng trống giữa các chip phụ M và được sử dụng để tăng tần số chế độ khoang của chip lượng tử.
- Ở đây, thuật ngữ M và N đề cập đến 1 số nguyên dương. “M” lớn hơn 1, trong khi “N” lớn hơn hoặc bằng 1.
Các chip phụ M trong chip lượng tử sẽ giảm bớt sự căng thẳng trong quá trình sản xuất và cải thiện năng suất sản xuất. Ví dụ, khi một chip phụ xảy ra lỗi, chỉ chip phụ đó mới bị loại bỏ, và chipset tổng thể có thể được khắc phục hoặc tái sử dụng để ngăn nó trở thành rác thải điện tử nhiều hơn.
Điện toán lượng tử được coi là thế hệ máy tính tiếp theo nhằm mục đích cắt giảm internet và tốc độ tính toán cao hơn lên đến 10 lần so với ngày nay. Ví dụ, giả sử 1 siêu máy tính hiện đại mất 108 ngày (tương đương hơn 3 tháng) để tính toán 62,8 nghìn tỉ chữ số pi. Nếu chúng ta sử dụng 1 máy tính lượng tử trong lương lai về mặt lý thuyết, theo giả thuyết, nó có thể tính toán 62,8 nghìn tỷ chữ số của số pi chỉ trong 10 ngày, nhanh hơn nhiều so với thời lượng hơn 3 tháng đó.
Dẫu chúng ta quá trình phát triển tương lai của máy tính lượng tử vẫn đang trong giai đoạn sơ khai, nhưng hứa hẹn về tính toán lượng tử có vẻ hấp dẫn vô hạn với khả năng tìm kiếm trên internet nhanh hơn, phân tích dữ liệu tài chính nhanh như chớp, thời gian chuyển hoàn ngắn hơn, nghiên cứu thuốc điều trị ung thư hiệu quả hơn, dự đoán thời tiết tốt hơn,…
Nguồn: GizmoChina
Loại thiết bị điện toán lượng tử mới của Huawei nhằm giải quyết các vấn đề hiện tại về sản xuất chipset lượng tử, bao gồm sự phức tạp của việc sản xuất chipset lượng tử và năng suất sản xuất chipset lượng tử thấp khi so sánh với các chipset điện toán chính thống hiện nay. Đổi lại, với loại chip lượng tử mới này, nó không chỉ sẽ dễ lắp ráp hơn trong tương lai mà còn có thể sản xuất nhiều đơn vị thành công hơn với năng suất cao hơn, đồng nghĩa với việc chiếm nhiều thị phần hơn trong ngành.
- Một chất nền, những con chip phụ (sub-chip) M, cấu trúc khớp nối và cấu trúc triệt tiêu chế độ khoang.
- Mỗi chip phụ bao gồm các bit bit lượng tử N, và những con chip phụ M được xếp trên bề mặt của chế nền trong các khoảng không gian xen kẽ.
- Cấu trúc khớp nối được sử dụng để nhận diện sự kết nối giữa những chip phụ M.
- Cấu trúc triệt tiêu chế độ khoang được bố trí ở mỗi chip phụ và/hoặc trong khoảng trống giữa các chip phụ M và được sử dụng để tăng tần số chế độ khoang của chip lượng tử.
- Ở đây, thuật ngữ M và N đề cập đến 1 số nguyên dương. “M” lớn hơn 1, trong khi “N” lớn hơn hoặc bằng 1.
Các chip phụ M trong chip lượng tử sẽ giảm bớt sự căng thẳng trong quá trình sản xuất và cải thiện năng suất sản xuất. Ví dụ, khi một chip phụ xảy ra lỗi, chỉ chip phụ đó mới bị loại bỏ, và chipset tổng thể có thể được khắc phục hoặc tái sử dụng để ngăn nó trở thành rác thải điện tử nhiều hơn.
Dẫu chúng ta quá trình phát triển tương lai của máy tính lượng tử vẫn đang trong giai đoạn sơ khai, nhưng hứa hẹn về tính toán lượng tử có vẻ hấp dẫn vô hạn với khả năng tìm kiếm trên internet nhanh hơn, phân tích dữ liệu tài chính nhanh như chớp, thời gian chuyển hoàn ngắn hơn, nghiên cứu thuốc điều trị ung thư hiệu quả hơn, dự đoán thời tiết tốt hơn,…
Nguồn: GizmoChina