Nghiên cứu vừa được tiết lộ cho thấy Apple đang nghiên cứu cách giữ cho những cảm biến của iPhone hoạt động chính xác mà vẫn được bảo vệ khỏi áp suất nước cao hoặc áp suất không khí thấp.
Thông thường, khi Apple được cấp bằng sáng chế về áp suất, nó thường liên quan đến việc điều khiển thiết bị bằng cảm ứng. Nhưng iPhone cũng thường xuyên phải chịu áp lực môi trường, và đặc biệt là được vận chuyển và sử dụng trong các chuyến bay hoặc dưới nước.
“Thiết bị điện tử có cảm biến áp suất tích hợp” chính là bằng sáng chế vừa được cấp bằng sáng chế của Apple, liên quan đến việc ngăn chặn áp suất bên ngoài hoặc sự thay đổi áp suất, làm hỏng iPhone hoặc ảnh hưởng đến độ chính xác của cảm biến.
Bằng sáng chế cho biết: “Những thiết bị này đi cùng mọi người ra khỏi nhà, trên đường đi làm, cập nhật cho mọi người các tuyến xe buýt, cập nhật tình hình giao thông, điểm số cho các môn thể thao trong ngày,... Khi người dùng ngày càng phụ thuộc nhiều hơn vào các thiết bị này, chúng cần phải được thiết kế để trở nên mạnh mẽ hơn.”
“Ví dụ, các thành phần nhựa có thể được thay thế bằng những linh kiện kim loại hoặc những linh kiện thủy tinh có thể dày hơn và cấu tạo từ kính cường lực. Các thiết bị này cũng được thiết kế để sử dụng trong nhiều môi trường hơn.”
Apple cũng liệt kê những môi trường có thể gây ra sự cố với các thiết bị, chẳng hạn như khi “chúng được mang theo trong các chuyến đi leo núi hoặc trượt tuyết, đi bộ xuyên rừng, nơi nhiệt độ giảm xuống dưới mức đóng băng”. Hoặc “những thiết bị có thể thường được đưa vào trong hoặc xung quanh nước.”
Apple cho biết: “Vì lý do này, các thiết bị thường được thiết kế để có khả năng chống nước ở một mức độ nào đó, vì nước có thể khiến các bộ phận điện trong thiết bị bị hỏng hóc.”
Một cách để ngăn nước làm hỏng thiết bị là loại bỏ những loại cổng có khả năng khiến nước chui vào. Đó cũng là lý do mà Apple đưa ra khi loại bỏ jack cắm tai nghe ra khỏi iPhone 7 ra mắt hồi năm 2016.
Có lẽ, đó cũng là lý do tại sao các nhà sản xuất khác, sau khi chỉ trích Apple về việc loại bỏ nó trong thời điểm đầu, cũng đã loại bỏ jack cắm tai nghe ra khỏi những chiếc điện thoại của mình. Tuy nhiên, vấn đề còn nhiều hơn việc làm khó người dùng cắm những tai nghe có dây của mình vào điện thoại. Nói đúng hơn, việc loại bỏ các cổng có thể tạo ra hiệu ứng dây chuyền, hay còn gọi là đóng chặt một thiết bị.
“Dẫu thế, ít nhất ở một mức độ nào đó, việc đóng chặt thiết bị để thiết bị có khả năng ngập trong nước có thể gây ra những hậu quả không mong muốn ảnh hưởng, ảnh hưởng đến hoạt động của một số cảm biến có trong thiết bị.”
Đáng chú ý nhất, “việc đóng chặt thiết bị có thể dẫn đến tăng nhiệt độ hoạt động khi các bộ phận được đặt trong chậu hoặc bao bọc trong môi trường kín.”
Vì vậy, thay vì bị hư hỏng vì nước, bạn có thể bị hỏng vì nhiệt độ. iPhone sẽ tự tắt nếu nó quá nhiệt trong thời gian quá lâu, nhưng rõ ràng, điều đó không lý tưởng.
Việc đóng chặt iPhone cũng không có thêm vấn đề gì sâu xa hơn.
Apple cho hay: “Một ví dụ khác, các cảm biến, chẳng hạn như cảm biến nhiệt độ hoặc đầu dò áp suất, có thể kém chính xác hơn bởi chúng bị kèm chặt bên trong thiết bị và không tiếp xúc trực tiếp với môi trường bên ngoài.”
“Do đó, điều mong muuốn là một cách cải tiến để tích hợp các cảm biến khác nhau trong một thiết bị điện tử cầm tay.”
Sau đó, khoảng 7.000 từ mô tả bằng sáng chế trình bày chi tiết nhiều điểm khác biệt nhỏ trong cách tiếp cận ý tưởng trung tâm. Ý tưởng đó bao gồm các tùy chọn về việc nước vào và ra, nhưng mối quan tâm chủ yếu là tạo ra một cách để iPhone, hoặc bất kỳ thiết bị điện tử nào, trở thành một bộ chuyển đổi áp suất.
Bằng cách tạo ra một khoang kín bên trong thiết bị, nó có thể đo áp suất môi trường.
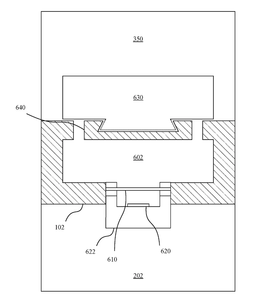
Apple cho biết: “Khoang này được bịt kín để tạo thành một thể tích không khí trong khoang được thông ra môi trường bên ngoài thông qua một lỗ thông khí áp được kết hợp linh hoạt với lỗ mở đầu tiên trong vỏ. Một cảm biến đo đặc tính của thể tích không khí thứ 2 trong buồng biệt lập được thông ra môi trường bên ngoài qua lỗ thứ 2 trong vỏ.”
“Việc đóng chặt khí trong bình chứa có thể dẫn đến hỏng kết cấu khi xảy ra chênh lệch áp suất giữa bình chứa kín và khí bao quanh bình chứa kín. Ví dụ, áp suất của khí trong bình kín có thể tăng khi nhiệt độ của khí tăng.”
Bằng sáng chế cho biết thêm: “Bởi vì các thành phần hoạt động tạo ra nhiệt, khí cần có khả năng tạo ra áp suất chảy ra môi trường bên ngoài.”
Tương tự, sự sụt giảm áp suất do thay đổi độ cao có thể gây ra thiệt hại. “Sự chênh lệch áp suất dương giữa khí trong khoang và khí ở môi trường bên ngoài có thể đẩy cụm màn hình ra khỏi vỏ, dẫn đến hỏng lớp dán do chất kết dính tạo ra.”
“Việc phá vỡ lớp đóng chặt có thể cho phép nước xâm nhập vào khoang. Một giải pháp để khắc phục vấn đề này là bao gôm một lỗ thông hơi trong một cổng, bao gồm trong vỏ giữa khoang và môi trường bên ngoài.”
Cách để ngăn màn hình bị đẩy ra khỏi thiết bị cũng như nhiệt tạo ra áp suất là cân bằng áp suất bên trong và bên ngoài.
Bằng sáng chế này chỉ đề cập đến các cách có thể cân bằng áp suất. Ví dụ, cũng có những giới hạn đối với những gì một thiết bị có thể làm để tạo ra áp lực bên trong nhằm tương đồng với thế giới bên ngoài.
Dẫu thế, để có khả năng phát hiện sự thay đổi áp suất cũng như thực hiện ít nhất một số phương pháp giảm thiểu vấn đề, iPhone phải tăng dung sai độ sâu và chiều cao của chúng.
Bằng sáng chế mới được cấp ghi nhận 10 nhà phát mình tham gia, trong đó có Eric N. Nyland – người từng phát triển nhiều bằng sáng chế liên quan đến việc phun nước trong Apple Watch và iPhone.
Nguồn: Apple Insider
“Thiết bị điện tử có cảm biến áp suất tích hợp” chính là bằng sáng chế vừa được cấp bằng sáng chế của Apple, liên quan đến việc ngăn chặn áp suất bên ngoài hoặc sự thay đổi áp suất, làm hỏng iPhone hoặc ảnh hưởng đến độ chính xác của cảm biến.
Bằng sáng chế cho biết: “Những thiết bị này đi cùng mọi người ra khỏi nhà, trên đường đi làm, cập nhật cho mọi người các tuyến xe buýt, cập nhật tình hình giao thông, điểm số cho các môn thể thao trong ngày,... Khi người dùng ngày càng phụ thuộc nhiều hơn vào các thiết bị này, chúng cần phải được thiết kế để trở nên mạnh mẽ hơn.”
“Ví dụ, các thành phần nhựa có thể được thay thế bằng những linh kiện kim loại hoặc những linh kiện thủy tinh có thể dày hơn và cấu tạo từ kính cường lực. Các thiết bị này cũng được thiết kế để sử dụng trong nhiều môi trường hơn.”
Apple cũng liệt kê những môi trường có thể gây ra sự cố với các thiết bị, chẳng hạn như khi “chúng được mang theo trong các chuyến đi leo núi hoặc trượt tuyết, đi bộ xuyên rừng, nơi nhiệt độ giảm xuống dưới mức đóng băng”. Hoặc “những thiết bị có thể thường được đưa vào trong hoặc xung quanh nước.”
Apple cho biết: “Vì lý do này, các thiết bị thường được thiết kế để có khả năng chống nước ở một mức độ nào đó, vì nước có thể khiến các bộ phận điện trong thiết bị bị hỏng hóc.”
Một cách để ngăn nước làm hỏng thiết bị là loại bỏ những loại cổng có khả năng khiến nước chui vào. Đó cũng là lý do mà Apple đưa ra khi loại bỏ jack cắm tai nghe ra khỏi iPhone 7 ra mắt hồi năm 2016.
“Dẫu thế, ít nhất ở một mức độ nào đó, việc đóng chặt thiết bị để thiết bị có khả năng ngập trong nước có thể gây ra những hậu quả không mong muốn ảnh hưởng, ảnh hưởng đến hoạt động của một số cảm biến có trong thiết bị.”
Đáng chú ý nhất, “việc đóng chặt thiết bị có thể dẫn đến tăng nhiệt độ hoạt động khi các bộ phận được đặt trong chậu hoặc bao bọc trong môi trường kín.”
Vì vậy, thay vì bị hư hỏng vì nước, bạn có thể bị hỏng vì nhiệt độ. iPhone sẽ tự tắt nếu nó quá nhiệt trong thời gian quá lâu, nhưng rõ ràng, điều đó không lý tưởng.
Việc đóng chặt iPhone cũng không có thêm vấn đề gì sâu xa hơn.
Apple cho hay: “Một ví dụ khác, các cảm biến, chẳng hạn như cảm biến nhiệt độ hoặc đầu dò áp suất, có thể kém chính xác hơn bởi chúng bị kèm chặt bên trong thiết bị và không tiếp xúc trực tiếp với môi trường bên ngoài.”
“Do đó, điều mong muuốn là một cách cải tiến để tích hợp các cảm biến khác nhau trong một thiết bị điện tử cầm tay.”
Bằng cách tạo ra một khoang kín bên trong thiết bị, nó có thể đo áp suất môi trường.
Apple cho biết: “Khoang này được bịt kín để tạo thành một thể tích không khí trong khoang được thông ra môi trường bên ngoài thông qua một lỗ thông khí áp được kết hợp linh hoạt với lỗ mở đầu tiên trong vỏ. Một cảm biến đo đặc tính của thể tích không khí thứ 2 trong buồng biệt lập được thông ra môi trường bên ngoài qua lỗ thứ 2 trong vỏ.”
Ứng dụng của bằng sáng chế
Bằng sáng chế của Apple không nêu chi tiết những gì có thể được thực hiện, chẳng hạn như khi phát hiện áp suất cao. Điều đó nằm ngoài phạm vi của bằng sáng chế này, vốn muốn xác định cách sử dụng các khoang chịu áp lực như vậy, đặc biệt là vì Apple lập luận rằng bạn không thể chỉ bọc và đóng chặt các thành phần hoàn toàn.“Việc đóng chặt khí trong bình chứa có thể dẫn đến hỏng kết cấu khi xảy ra chênh lệch áp suất giữa bình chứa kín và khí bao quanh bình chứa kín. Ví dụ, áp suất của khí trong bình kín có thể tăng khi nhiệt độ của khí tăng.”
Bằng sáng chế cho biết thêm: “Bởi vì các thành phần hoạt động tạo ra nhiệt, khí cần có khả năng tạo ra áp suất chảy ra môi trường bên ngoài.”
Tương tự, sự sụt giảm áp suất do thay đổi độ cao có thể gây ra thiệt hại. “Sự chênh lệch áp suất dương giữa khí trong khoang và khí ở môi trường bên ngoài có thể đẩy cụm màn hình ra khỏi vỏ, dẫn đến hỏng lớp dán do chất kết dính tạo ra.”
“Việc phá vỡ lớp đóng chặt có thể cho phép nước xâm nhập vào khoang. Một giải pháp để khắc phục vấn đề này là bao gôm một lỗ thông hơi trong một cổng, bao gồm trong vỏ giữa khoang và môi trường bên ngoài.”
Cách để ngăn màn hình bị đẩy ra khỏi thiết bị cũng như nhiệt tạo ra áp suất là cân bằng áp suất bên trong và bên ngoài.
Bằng sáng chế này chỉ đề cập đến các cách có thể cân bằng áp suất. Ví dụ, cũng có những giới hạn đối với những gì một thiết bị có thể làm để tạo ra áp lực bên trong nhằm tương đồng với thế giới bên ngoài.
Dẫu thế, để có khả năng phát hiện sự thay đổi áp suất cũng như thực hiện ít nhất một số phương pháp giảm thiểu vấn đề, iPhone phải tăng dung sai độ sâu và chiều cao của chúng.
Bằng sáng chế mới được cấp ghi nhận 10 nhà phát mình tham gia, trong đó có Eric N. Nyland – người từng phát triển nhiều bằng sáng chế liên quan đến việc phun nước trong Apple Watch và iPhone.
Nguồn: Apple Insider